Serie UBT
Clamp-On Ultraschall-Energiemesser mit Impuls- und Kommunikationsausgang
Die Serie UBT ist ein wirtschaftlicher Clamp-On-Ultraschall-Energiemesser als Alternative zu traditionellen Inline-Messgeräten. Er verwendet Temperaturfühler zur Energieberechnung sowie Ultraschalllaufzeiten zur Durchflussmessung. Die nicht-invasive Messung ermöglicht eine einfache Installation ohne Eingriff in das Rohrsystem und eignet sich besonders für homogene Flüssigkeiten ohne Lufteinschlüsse.
Produktabbildungen
Standardansicht
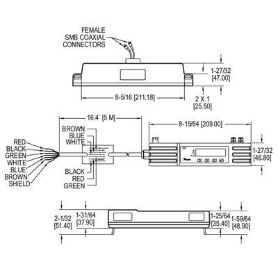
Abmessungen
Vorteile / Eigenschaften
- Kosteneinsparung durch nicht-invasive Installation
- Alle Komponenten im Lieferumfang enthalten (Wandler, Sensoren, Kabel, Halterungen)
- Kompakte, leichte Bauweise mit rückseitiger Halterung
- Messung von Energieflussrate und Gesamtverbrauch auf beleuchtetem Display
- Impulsausgang und Modbus®-Kommunikation verfügbar
Typische Anwendungen
- Gebäudetechnik
- Energiemanagement
- Wärmemengenmessung in Kaltwasserkreisläufen
Technische Daten
| Messmedium | Sauberes Wasser mit < 3 % Partikel, bis 30 % Ethylenglykol |
|---|---|
| Messbereich | 0,1 bis 10 m/s |
| Anzeige | 2-zeiliges LCD, 16 Zeichen, 58 x 11 mm, Hintergrundbeleuchtung |
| Genauigkeit | ±3 % des Durchflusswerts ab 0,3 m/s |
| Wiederholbarkeit | ±0,15 % vom Messwert |
| Stromversorgung | 12 bis 24 V AC/DC ±10 %, 7 W |
| Temperaturbereich | Medium: 0–85 °C, Umgebung: 0–50 °C |
| Ausgänge | Impuls (MOSFET, max. 500 mA, 166 pps), optional Modbus® |
| Luftfeuchtigkeit | bis 90 % r.F. bei 50 °C |
| Schutzart | IP54 |
| Material Gehäuse | Polycarbonat |
| Elektrischer Anschluss | 5 m Kabel |
| Rohrdurchmesser | 25–115 mm (UBT-14/-24), 125–180 mm (UBT-16/-26) |
| Wandstärke | 0,5–10 mm |
| Montage | Clamp-On, beliebige Einbaulage |
| Gewicht | 0,5 kg |
| Zulassungen | CE |